Votre panier est vide
Mon panier -
Vider
Prix total ...
Caisse
* Vous pouvez appuyer sur le numéro de la pièce pour l'afficher sur le diagramme. Et inversement.
Non Code de la pièce Titre Note QNT Modèle Prix
Bobine d'allumage
cable d'allumage
Bougie d'allumage
6 cyl. -
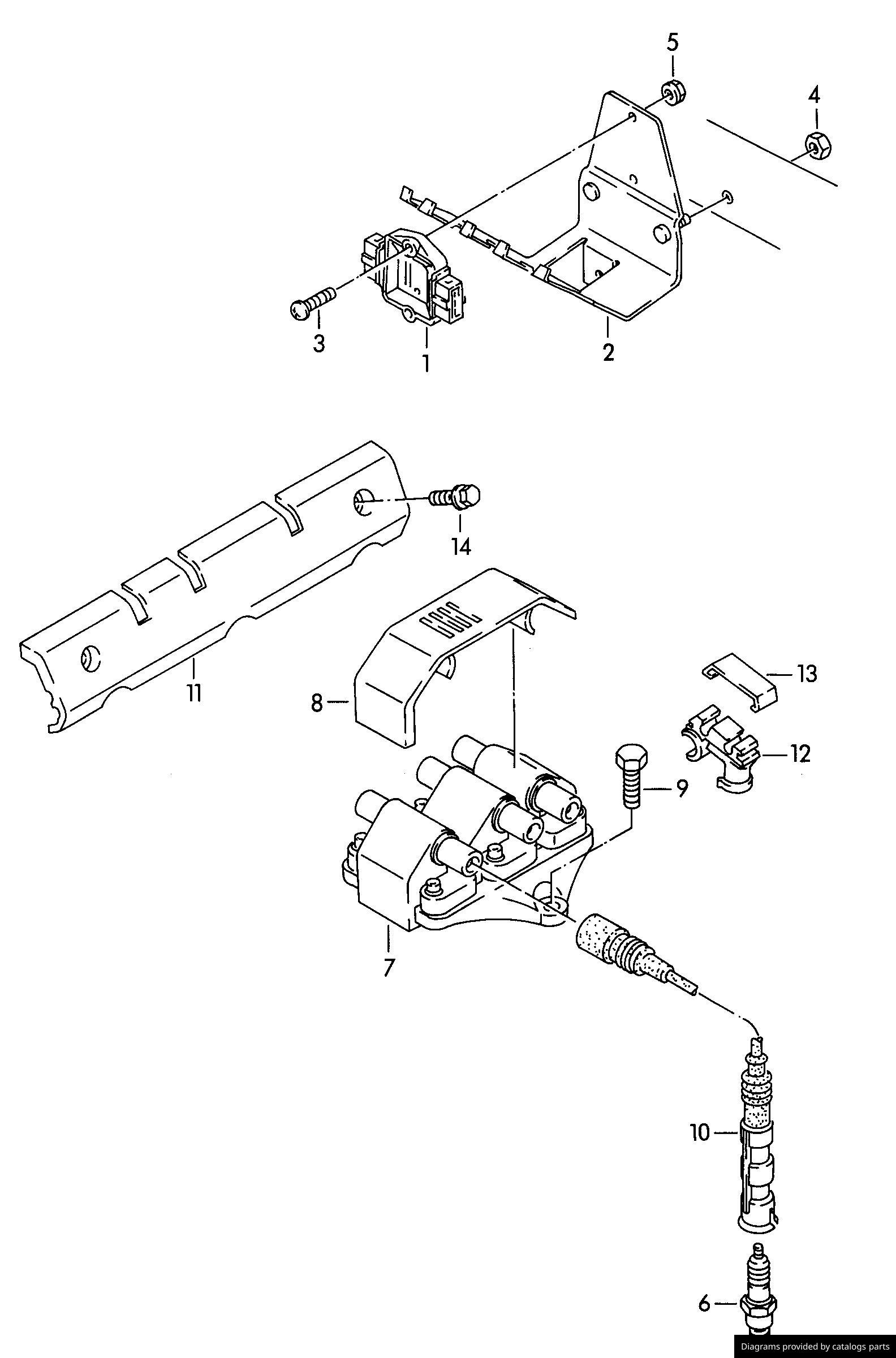
1 4A0905351 Calculateur niv. final puiss. 'LAZ' 1 -
2 4A0971844B Support 1 -
3 N 0141551 vis tete bombee M5X22 2 From ...
4 N 01100624 ecrou 6 pans M6 2 -
5 171857026A Ecrou hexagonal embase M5 2 -
6 101000033AA bougie d'allumage longue duree NGK 6 From ...
6 101000041AC bougie d'allumage longue duree BERU 6 From ...
6 101000051AA bougie d'allumage longue duree BOSCH 6 From ...
6 101000053AA Bougie d'allumage BOSCH 6 AEJ -
7 078905101A bobine d'allumage double 1 -
8 078905399 cache
Bobine d'allumage
1 -
9 N 0903151 Vis a tete cylindrique avec
six pans internes (combi)
M8X25 1 From ...
10 078905531A cable d'allumage cyl. 1 1 -
10 078905532A cable d'allumage cyl. 2 1 -
10 078905533A cable d'allumage cyl. 3 1 -
10 078905534A cable d'allumage cyl. 4 1 -
10 078905535A cable d'allumage cyl. 5 1 -
10 078905536A cable d'allumage cyl. 6 1 -
11 078906311A cache
cable d'allumage
2 -
12 078905487A support 6 -
14 N 01021612 vis 6 pans
utiliser en meme temps:
M6X18
N 011 547 6
4
4
From ...
N 0115476 Rondelle plate 6,5 4 -
J’accepte
Afin d’améliorer la qualité de votre navigation, nous utilisons sur ce site des cookies à des fins statistiques et de marketing direct, que vous pouvez annuler à tout moment en modifiant les paramètres de votre navigateur web et en supprimant les cookies saisis. En savoir plus.